【小米新LOGO申请商标成功,为什么用黑白图标?为了使用更方便】2021年3月份 , 小米的春季新品发布会正式举行 , 这场发布会上的主角虽然是小米11 Pro、小米11 Ultra等产品 , 但在这场发布会上 , 小米也带来了全新的品牌LOGO , 当雷军第一次展示全新的LOGO图标时 , 网友直呼“雷总上当了” 。
文章图片
主要原因是新LOGO相较旧LOGO的变化并不大 , 如果不仔细看的话 , 最大的变化应该就是外面的橙色部分由正方形改为了弧度更大的椭圆轮廓 , 但如果仔细看的话 , 内部白色的字母“m”右上角弧度也同样变得更大了 , 更加圆滑 。
文章图片
网友直呼“雷总上当了”的更主要原因是这个变化并不算很大的新LOGO耗费了小米200万资金 , 由日本著名设计师——原研哉亲自操刀设计 , 在原有品牌LOGO的基础上 , 加入了东方哲学的思考内容 , 不过对于网友的调侃 , 雷军表示最初自己也没有看出全新的LOGO为什么价值200万 , 但后来听完设计师的讲解 , 雷军回应称“成熟的品牌LOGO只能进行细微的小改动” , 同时也慢慢理解新LOGO图标的价值 。
文章图片
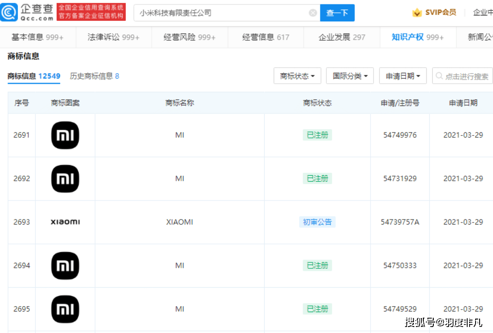
时隔将近一年的时间 , 小米全新的LOGO图标终于完成了商标申请的正式注册 , 不过网友通过一些商标信息网站查询到 , 小米申请的新LOGO图标均为黑白配色 , 对此有很多网友并不理解 , 认为小米LOGO的橙色配色非常好看 , 为什么申请商标不使用橙色方案 , 而是黑白图标呢?
文章图片
其实在图标的商标注册方面 , 确实可以注册带有彩色色彩的图标商标 , 但如果申请注册商标的时候直接使用彩色图标注册申请 , 那么当商标注册成功以后 , 商标拥有者在使用商标的时候 , 也必须使用当初注册成功的彩色商标 , 也就是说 , 假如小米申请的是橙色的新LOGO图标作为商标 , 那么小米以后使用新LOGO的时候 , 必须使用橙色图标作为商标 。
文章图片
现在小米新LOGO申请注册商标使用了黑白配色方案 , 可以理解为这个商标图标没有附带任何颜色 , 在以后使用的过程中 , 小米可以将新LOGO填充任意颜色进行商用 , 这就是小米申请的新LOGO为什么使用黑白配色的主要原因 。
特别声明:本站内容均来自网友提供或互联网,仅供参考,请勿用于商业和其他非法用途。如果侵犯了您的权益请与我们联系,我们将在24小时内删除。
