正循环和反循环钻孔灌注桩有哪些区别和联系

文章插图
正循环钻孔灌注桩

文章插图
反循环钻孔灌注桩
看着两个动画就全明白了,正循环和反循环都是泥浆循环钻孔灌注桩,区别在于泥浆循环的方向相反,正循环泥浆是钻杆底部的口子进,钻孔顶部流出 , 反循环正好相反 。正循环的优点在于不容易堵管,泥浆护壁比较稳定;反循环优点是出渣速度快,钻进速度快 。

文章插图
正循环和反循环有什么不同之处1、泥浆流动循环的方向不一样 。
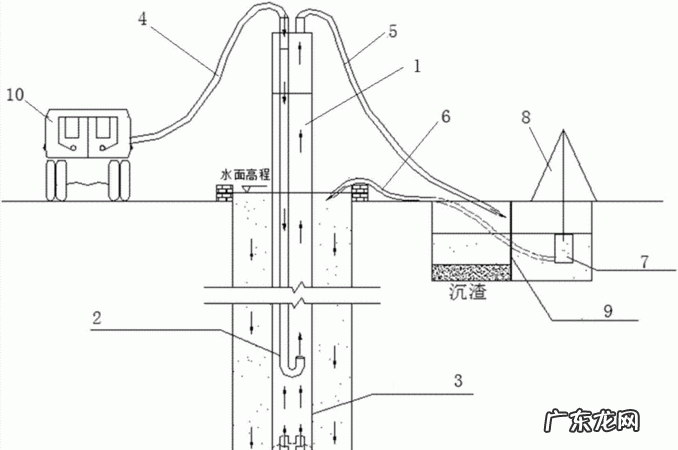
正循环是用水泵压送冲洗液由钻杆柱中心进入孔底并经钻头水口返出,经钻杆与孔壁环状间隙上返至孔口,通过地面循环槽流入泥浆池,不需要孔口密封器等附加装置,适用于各种钻进方法 。
反循环是用冲洗液由钻杆柱中心下去,从喷反接头处流出,在管内形成负压抽吸力,从而形成孔底局部反循环 。
2、方法要求不同 。
正循环:“二清”时同时满足规范要求的1:的泥浆比重和孔底沉渣厚度 。
反循环钻孔:一般采用“气举法”清孔,达到同时满足规范要求的1:的泥浆比重和孔底沉渣厚度 。反循环清孔操作不当容易造成坍孔,在软土地区谨慎使用 。

文章插图
扩展资料:
正循环特点
1、泥浆从钻杆中的导管进入钻孔,从钻孔顶部溢出流入泥浆池、沉淀池 。
2、正循环优点是钻孔过程中 , 产生的泥渣大部分留在孔中,泥浆稠度大,护壁效果好;缺点是泥渣大量留在钻孔中,清孔难度大 。
反循环特点
1、泥浆从钻孔顶部的入浆孔进入钻孔,沿钻杆中的导管流出,携带泥渣进入沉淀池 。
2、反循环优点是钻孔过程中,产生的泥渣大部分随泥浆被抽出,孔中残留的泥渣较少,清孔难度?。蝗钡闶悄嘣淮罅砍槌?,残留的泥浆稠度低,护壁效果一般,易使孔壁产生失稳破坏 。
正循环钻机和反循环钻机的区别正循环和反循环都适用于比较松软的地质情况,入岩就很困难,我说的是回旋钻;
如果是配合冲击反循环就可以入岩 。
但是正循环和反循环最主要的是携渣能力的区别,如果越到卵石或块径大的石头 , 正循环带不出来,就要用反循环 。
也就是说,反循环可以把较大的石头带出来,正循环不行 , 如果遇到卵石的话就要用反循环!
我不是桩基专家 , 如有错误希望指正!

文章插图
钻孔灌注桩的泥浆怎么处理孔灌注桩在钻孔时正循环和反循环区别:
【正循环与反循环的区别,正循环和反循环钻孔灌注桩有哪些区别和联系】正循环速度较慢,安全性高 , 不易塌孔,有利于成孔 。反循环干活快,这个要求就要高些 , 主要用于地层好的 。
钻孔灌注桩在钻孔时正循环和反循环利弊:
(1)正循环是从钻杆内注循环泥浆,钻碴因比重轻于泥浆而自浮于泥浆中,并随泥浆上升到孔顶排出 。随着钻碴的逐渐加多,泥浆浓度越来越大 , 又因钻渣沉淀而致重复碾磨 , 故效率较低 。但浓泥浆有利于钻孔护壁,不易塌孔 , 用于流沙等容易塌孔的土层是适应的 。
(2)反循环是钻杆吸出夹带钻碴的循环泥浆,并孔顶补充泥浆以保持孔内液面,从而保证孔壁的稳定性 。反循环可大大减少重复碾磨钻碴的无效劳动,可使钻进效率大幅度提高 。用于岩层,砾石及密实土层较合适 。

文章插图
扩展资料:
泥浆或水从钻杆进入,从井口流出 。为正循环钻井机 。泥浆或水从钻杆吸出,从井口流入 。为反循环钻井机 。正反循环是指钻井液(泥浆或水)在钻井机中的循环方式说的,钻井机钻头在钻进的时候会产生产生渣土,渣石等 , 通过正反循环可以由泥浆这些渣子带到地面,再经过沉淀池沉淀以后泥浆再回到钻孔 。这样不停的循环 , 最后成孔 。反循环可以带出直径较大的渣 。
现有的反循环钻井机其泥浆泵(排料泵)都是设置在地平面以上的,工作前需要将泥浆泵抽真空,如果泥浆泵漏气则不能正常工作,操作程序较为复杂,影响了钻井机的工作效率 。
本专利彻底解决了这些问题,我们的反循环钻井机由空心轴(空心钻杆)、泥浆泵(排料泵)、动力头(减速箱)和泥浆泵出料管组成,空心轴的上端与动力头相连接,泥浆泵设置在空心轴内的下侧,泥浆泵出料管的下端与泥浆泵的出口相连接 。
本产品由减速箱驱动空心轴低速旋转,在转动的空心轴内泥浆泵是潜入水下(地平面以下)工作的,减少了操作程序、降低了钻井机的故障率、提高了作业速度、增加了钻井机的钻孔深度 。
参考资料:
- 毛肚吃着发苦为什么,毛肚有点臭味正常么能吃
- 篮球护腕怎么带,羽毛球护腕的正确戴法
- 钩藤能长期泡水喝,黄连配甘草的功效与作用
- 火跟什么有关,火跟什么有关
- 牛反刍嚼多少次正常,牛反刍多少次算正常
- 奋斗终生是生还是身,奋斗终生是生还是身
- 炒虾仁怎么做好吃,正宗清炒虾仁的简单做法
- 鹿角与鹿腿的寓意出自哪里,鹿角和鹿腿选自什么寓言故事
- 增倍镜如何安装,佳能增倍镜.4二代与三代有什么区别
- 青椒鸡蛋怎么炒,青椒炒鸡蛋的正确做法
特别声明:本站内容均来自网友提供或互联网,仅供参考,请勿用于商业和其他非法用途。如果侵犯了您的权益请与我们联系,我们将在24小时内删除。
