近日, “元宇宙”概念不断渗透到游戏娱乐、工业制造等领域, 成为坊间热议的话题 。 红星资本局注意到, 9月份过后, 造车企业也开始扎堆注册元宇宙商标, 甚至有车企还未实现量产时就推出了相关游戏, 把区块链、虚拟现实技术应用其中 。
有专家认为, 车企申请元宇宙商标首先是构建自身的商标保护体系, 而且未来的智能驾驶、智能出行、智能车联网等也是元宇宙的应用场景 。 也有专家称, 元宇宙在智能驾驶、智能座舱方面的应用并非新能源汽车的主要功能, 从目前来看, 车企注册元宇宙商标不排除蹭热度炒高股价的可能性 。
中国商标网显示, 目前车企注册的元宇宙商标都还处于审查阶段, 并未最终获批 。

文章插图
上汽集团一口气注册100个元宇宙商标
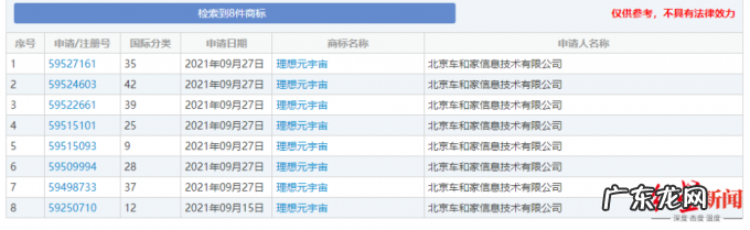
9月15日, 理想汽车(LI.US;02015.HK)最先在车企中申请元宇宙商标, 国际分类为第12类, 名称为“理想元宇宙” 。 该商标主要用于电动汽车、 自动驾驶汽车、跑车、房车、公共汽车等 。 随后在9月27日, 理想汽车又同时注册了7类元宇宙商标, 名称同为“理想元宇宙”, 将商标使用范围扩大至广告、包装设计、运输、服装、玩具车等领域 。
目前, 理想汽车的这些商标申请已受理, 处于等待实质审查阶段 。
【车企扎堆申请“元宇宙”商标 专家:蹭热度的因素大于实际应用】

文章插图
理想汽车注册的元宇宙商标
而在10月15日和10月18日, 老牌车企上汽集团(600104.SH)一口气申请了100个元宇宙相关的商标类别, 名称均为“车元宇宙”、“车元宇宙 Z-UNIVERSE”, 使用范围囊括了汽车研发、生产、制造和销售的方方面面 。

文章插图
上汽集团注册了100个类别的元宇宙商标
11月, 小鹏汽车(XPEV.US;09868.HK)注册了8类元宇宙商标, 名称均为“小鹏元宇宙”, 目前处于申请收文阶段 。
不过在9月23日, “小鹏元宇宙”商标疑似先被私人抢注 。 中国商标网显示, 该申请人位于河北省保定市满城区, 商标使用范围涵盖了电动汽车、无人驾驶汽车、自动驾驶汽车、婴儿车、虚拟现实软件的设计和开发、手机应用软件的设计和开发等 。 小鹏汽车在随后申请的商标类目中也包含上述使用范围 。

文章插图
小鹏汽车注册的元宇宙商标, 最先疑似被私人抢注
11月9日, 蔚来汽车(NIO.US)申请了12类元宇宙商标, 名称同为“蔚来元宇宙”, 目前商标申请文件已被接收 。
蔚来汽车注册的元宇宙商标
相比之下, 还没有量产车型下线的智己汽车早在8月份就推出了一款名为“原石谷”的游戏, 其被认为元宇宙的初级阶段 。
据悉, 这款游戏8月份在“IM智己”APP上线, 用户可以在这里拓荒原石、积攒积分、升级装备、进化车辆 。 而获取原石的方法有两种, “里程式开采”和“养成式开采” 。 车辆行驶里程所贡献的行驶数据, 会计入参与里程开采的数据池中 。 用户行驶里程越多, 贡献的数据越多, 其数据权益和收获的“原石”也就越多 。 在现实世界中, “原石”可被用于兑换各类硬件或软件升级服务 。
对于汽车企业注册元宇宙商标意在何为, 红星资本局联系了其中两家车企, 其工作人员均表示并不清楚具体应用 。
- 格力宣布实行双休工作制,加班需申请
- 科技早报|蔚来汽车申请元宇宙商标;格力电器官宣取消所有加班
- 刚刚,格力宣布实行双休工作制,加班需申请
- 资本扎堆,网红安利,滑雪生意却好难做
- 大逆转,摩托车企业纷纷倒下后,摩托车却满血复活了
- 特斯拉涨价,其他车企会跟吗?
- 东南亚虾皮有海外仓吗?虾皮如何申请入海外仓?
- 虾皮海外仓怎么申请?报名时间需要准备什么?
- 亚马逊开店贷款是真的吗?怎么申请?
- ebay申请子账号流程是什么?注意事项介绍
特别声明:本站内容均来自网友提供或互联网,仅供参考,请勿用于商业和其他非法用途。如果侵犯了您的权益请与我们联系,我们将在24小时内删除。
