一台充满着王家卫风格的手机
Pixel Fold 是一台充满着王家卫风格的手机:它像一只没有脚的小鸟, 一生只会落地一次, 那就是它「死」的时候 。
在数码圈里, 关于 Google 要进军折叠屏手机市场的传言不绝如缕, 而在今年在 Google 宣布要推出更加适配大屏交互的 Android 12L 后, Google 与折叠屏的关系变得更加暧昧 。
【不用再期待Pixel Fold,即使是Google也玩不转折叠屏】

文章插图
▲更适应大屏幕的 Android 12L
并且在上个月 Google 还用三星的折叠屏手机 Galaxy Fold3 和 Galaxy Z Flip3 拍摄了一条名为「未来已经展开」的宣传广告, 展示 Google 应用在折叠屏手机上有很好的适配性, 这引发了人们更多的遐想 。

文章插图
就在人们在猜测这台传言中的 Pixel Fold 是否真的存在时, 咨询公司 Display Supply Chain Consultants(DSCC)根据其供应链来源给出了颇具可信度的分析:好消息是, Pixel Fold 真的存在;坏消息是, Google 现在放弃了这个项目 。
DSCC 的 CEO Ross Young 在分析报告中称 Google 已经决定不把 Pixel Fold 推向市场, 停止向供应链采购折叠屏相关的零件, 所以预计在 2022 年上半年之前, 这台传闻中的「折叠亲儿子」都不会在市场出现 。
根据 DSCC 的这份报告, Google 之所以选择保守, 很可能是因为三星的两款折叠屏新品销量都好于预期, 折叠屏市场的竞争难度要比预估的更大 。

文章插图
而在由苹果和三星主导的传统智能手机市场, Pixel 手机的声量依然微薄, Google 还面对着许多困难, 与其双线作战, Google 选择将精力更加集中在推广 Pixel 系列上 。
出乎所有人的意料, Pixel Fold 传言的落地居然是因为开发项目被取消, 即便 Google 愿意相信折叠屏会是未来, 但这道通往未来的大门却没有为 Google「展开」 。
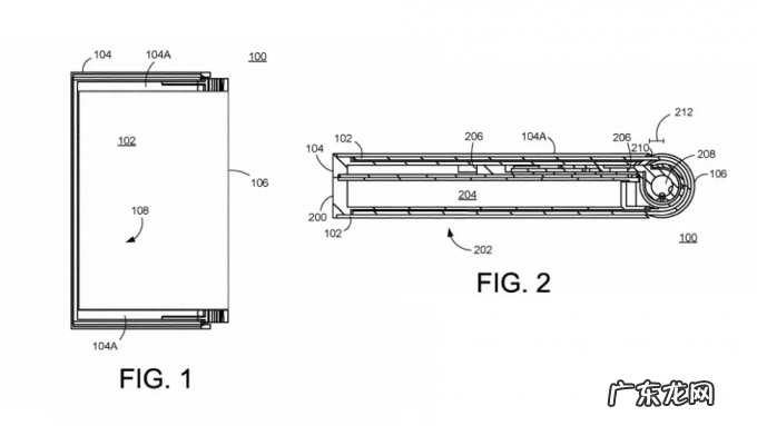
01将 Pixel 折叠后会变得更好吗?Pixel Fold 的外观一直是个迷, 目前有关 Pixel Fold 的任何设计细节, 很大程度上都来自于 Google 为折叠屏手机申请的一些设计专利 。

文章插图
例如在 Google 的一份专利里展示了一个与华为 Mate X 初代相似外翻结构设备, 展开后机身外侧就是一块大屏 。

文章插图
而另一份专利则是采用了三段式的结构, 两块屏幕可以同时展开, 获得一个更大视野, 此前在华星光电等厂商的展示中我们已经见到过类似的产品 。
不过这些设计最终不一定会变成现实, 因为这些专利也有可能只是在为未来的产品开发占坑, 这种专利策略不并少见 。

文章插图
▲图片来自:@WaqarKhan
结合这些专利和供应消息来看, Pixel Fold 最有可能和 Galaxy Fold3 一样, 计划配备横向折叠的 7.6 英寸显示器 。

文章插图
ET News 还报道称三星还计划会向 Google 供应 UTG 超薄玻璃, 以及 120Hz 高刷新率的 LTPO 屏幕, 配置看齐自家的 Galaxy Fold3 。
如果猜测是正确的话, 那么 Pixel Fold 的硬件配置可以说是处于折叠屏手机的顶尖水平, 甚至可以看作是一台披着 Pixel 外衣的 Galaxy Fold3 。
但看齐三星并不一定是件好事——Pixel Fold 硬件成本可能比 Galaxy Fold3 更高, 而如果价格和体验拉开太大的差距, 消费者为什么不选择产品更成熟的三星呢?
- 恒瑞研发支出资本化,孙飘扬回归后再出“重牌”
- 让师傅留出换鞋凳,为什么不再多延伸一截?改造成3种功能区使用
- 青春版《超能敢死队》飘红,索尼再重启系列告捷?
- 抖音上线“听视频模式”,短视频不用看也可以吗
- 时隔五天,特斯拉再次涨价,国产Model 3/Y均涨价4752元
- 企业微信再次升级连接微信视频号能力
- 京造再出低价笔记本:11代酷睿i3、14英寸主流规格3099元
- 小米线下销售渠道再扩大 河南27日将开设51家小米之家
- 淘宝新店用刷大词吗?为什么不用?
- iPhone 13 不再“全网通”?但这事不能全怪苹果
特别声明:本站内容均来自网友提供或互联网,仅供参考,请勿用于商业和其他非法用途。如果侵犯了您的权益请与我们联系,我们将在24小时内删除。
