去超市或烟酒专卖店买酒,货架上摆着各种品牌和各种价格的白酒,看着一个个精美的包装,买哪一种合适?不知道如何下手 。相信大多人都经历过这种场景,我们都希望买一款好酒,那么什么是好酒?
排除价格因素,我认为主要是纯粮食酿造的,都可以称为好酒 。怎么来识别拿在手里的是那瓶酒是不是纯粮食酿造的?其实通过酒盒或酒瓶上的产品标准代号就可以识别 。

文章插图
比如上面这款汾酒,产品标准代号是GB/T10781.2,代表固态法清香型白酒标准,其中,"GB" 是国家标准的首拼,"T" 是推荐标准,"10781" 是标准号,".2"是文件号 。按照国家标准分类,除了固态法白酒之外,还有液态法白酒和固液法白酒两类 。固态法白酒都是粮食酒,其他两种都是酒精酒 。
1、纯粮酿造(固态法)
固态法是指用纯粮食在窖池里发酵,呈固态,所以为固态法 。这也是传统酿造法 。粮食的主要成分是淀粉,微生物(酒曲)把淀粉转化为糖,把糖转化为酒精 。粮食还含有脂肪,蛋白以及很多种微量的其他有机成分,它们被微生物转化,或与酒精反应,或者相互反应,生成几百种有机分子 。
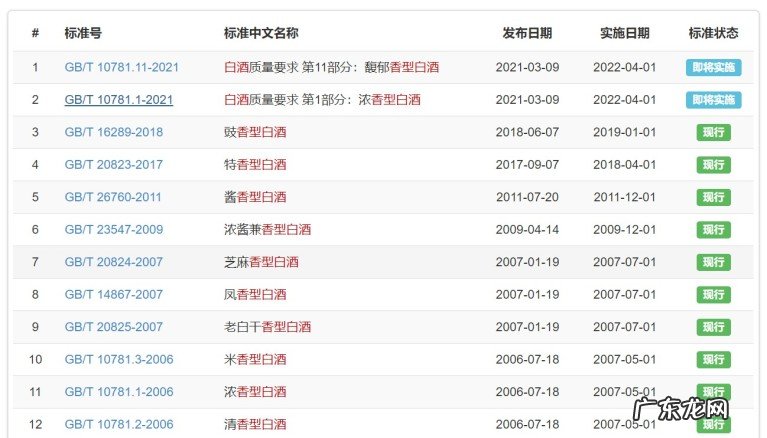
固态法有三种标准,分别是1)国家通用标准,2)地方标准,3)企业标准,4)地理标志产品标准,详细说明如下:
1)国家通用标准(对应11种香型)
国家通用标准以GB/T开头,是国家面向企业推荐使用的标准,适合同一类别商品所有白酒企业 。由国家质检总局和国家标准化管理委员会联合发布,规定了白酒的术语和定义、产品分类、要求、分析方法、检验规则和标志、包装、运输、贮存等 。

文章插图
国家推荐标准
下面以浓香型白酒(GB/T10781.1-2006)为例具体介绍国家标准定义的内容:
该标准具体规定了主管部门、起草单位、起草人、香型定义、酒精度数、感官要求、理化要求以及卫生要求等 。
主管部门:国家标准《浓香型白酒》 由TC358(全国白酒标准化技术委员会)归口上报及执行,主管部门为中国轻工业联合会 。
【酒盒或酒瓶上的产品标准代号识别方法 白酒行业标准有多少种】主要起草单位:中国食品发酵工业研究所 、宜宾五粮液集团有限公司 、江苏洋河集团有限公司。
主要起草人:康永璞 、刘凤翔 、范文莱 、沈才洪等。
中文标准名称:浓香型白酒
英文标准名称:Strong aromatic Chinese spirits
香型定义:以粮谷为原料,经传统固态法发酵、蒸馏、陈酿、勾兑而成的,未添加食用酒精及非白酒发酵产生的呈香呈味物质,具有以己酸乙酯为主体复合香的白酒 。
酒精度数:按产品的酒精度分为:高度酒:酒精度41°~68°;低度酒:酒精度25°~40°
标准中明确规定了酿酒使用粮谷为原料,也就是高粱、小麦、玉米等等,经固态发酵,未使用酒精等 。
五粮液、洋河大曲、泸州老窖、剑南春、古井贡酒等,都是浓香型白酒的典型代表 。
下面是几种香型白酒的产品标准的标注位置:

文章插图
洋河-海之蓝,浓香型

文章插图
茅台王子酒,酱香型

文章插图
一品景芝,芝麻香型
2)地方标准
标准号以DB开头的是地方标准,是由地方(省、自治区、直辖市)标准化主管机构或专业主管部门批准、发布,在某一地区范围内统一的标准 。
- 车辆在送交修理或保管期间发生交通事故的责任主体怎么确定
- 城乡居民医疗保险缴费方式有几种?部分可以免缴或少缴有哪几类
- 跨境新政或将暂缓一年再实施
- 猫尿完不埋是怎么回事
- 猫尾巴下垂摇晃
- 大多数男子出轨的缘故原由(出轨真的只有0次或无数次)
- 百香果的吃法
- 简单3步搞定单选或一键全选 Excel表格设置打"√"怎么操作
- 吃雪蛤的禁忌
- 酒瓶兰烂根了怎么办根烂怎么处理能救活
特别声明:本站内容均来自网友提供或互联网,仅供参考,请勿用于商业和其他非法用途。如果侵犯了您的权益请与我们联系,我们将在24小时内删除。
